Меню |
|---|
Реклама |
|---|
Активные участники |
|---|
Часы |
|---|
Поиск |
|---|
Ссылка на наш сайт |
|---|
Кто сейчас на конференции |
|---|
Всего 6 посетителей :: 0 зарегистрированных, 0 скрытых и 6 гостей
Сейчас этот форум просматривают: нет зарегистрированных пользователей и 6 гостей |
Ссылки |
|---|
|
| Автор |
Сообщение |
|
Rulezzz36
|
|
Зарегистрирован: 12 мар 2019, 15:46 Сообщения: 54
Имя: Rulezzz36
Техника: Yamaha GP800R, Yamaran 300+Tohatsu 5 Biturbo Supercharged
|
Anatoliy11 писал(а): Значит писта резьбе на винту ли- бо на валу.  Ну скорее всего что-то из этой оперы, или мошт вал сломался, буду дальше копаться. Хотя как и почему такое может произойти в голове не укладывается! На лодочных моторах вал гораздо тоньше и длинее, и там ничего такого не происходит.
|
|
| Вернуться к началу |
|
 |
|
Anatoliy11
|
|
| Не в сети |
| Контр-адмирал |
 |
Зарегистрирован: 30 июн 2016, 09:13 Сообщения: 2628
Имя: Анатолий
Техника: Мотороллер с фаркопом
Откуда: Харьков обл.
Благодарил (а): 30 раз Поблагодарили: 156 раз
|
Rulezzz36 писал(а): Anatoliy11 писал(а): Значит писта резьбе на винту ли- бо на валу.  Ну скорее всего что-то из этой оперы, или мошт вал сломался, буду дальше копаться. Хотя как и почему такое может произойти в голове не укладывается! На лодочных моторах вал гораздо тоньше и длинее, и там ничего такого не происходит. Если бы вал сломался он бы не визжал) а гидр бы прыгал от вибрации.
_________________ "Лучше пару раз по разу:- чем ни разу много раз")) настройка карбюраторов ссылка нижеhttp://www.pwctoday.com/showthread.php?t=62278
|
|
| Вернуться к началу |
|
 |
|
Rulezzz36
|
|
Зарегистрирован: 12 мар 2019, 15:46 Сообщения: 54
Имя: Rulezzz36
Техника: Yamaha GP800R, Yamaran 300+Tohatsu 5 Biturbo Supercharged
|
|
В общем вытащил вал вместе с импеллером, в рабочей зоне видно что грани немного слизаны и общий диаметр уменьшился. Возможно ответная часть тоже съедена, но пока не могу до неё добраться. По каталогу посмотрел, там вал идёт одной запчастью и на конце у него идёт резьба, а у меня шлицы как на полуоси. Мошт у меня самопал. Кто разбирал Ямахи, подскажите как там конструктивно всё устроено.
|
|
| Вернуться к началу |
|
 |
|
Anatoliy11
|
|
| Не в сети |
| Контр-адмирал |
 |
Зарегистрирован: 30 июн 2016, 09:13 Сообщения: 2628
Имя: Анатолий
Техника: Мотороллер с фаркопом
Откуда: Харьков обл.
Благодарил (а): 30 раз Поблагодарили: 156 раз
|
|
А что по делу не так сказано? На промвалу внутренние шлици с другой стороны наружная резьба для демпферной полумуфты. ДВС с подушек и в перед подать.
_________________ "Лучше пару раз по разу:- чем ни разу много раз")) настройка карбюраторов ссылка нижеhttp://www.pwctoday.com/showthread.php?t=62278
|
|
| Вернуться к началу |
|
 |
|
Юрий Селиванов
|
|
| Не в сети |
| Главный корабельный старшина |
 |
Зарегистрирован: 30 мар 2017, 08:02 Сообщения: 745
Имя: Юрий
Техника: Brp gtx 215:TLC200 4,7.Subaru outback 3.0,Forester turbo, Yamaha tdm, садовая тачка.
Откуда: красноярский край
Благодарил (а): 9 раз Поблагодарили: 63 раза
|
|
На сколько помню гребной вал соединяется с промвалом не шлицевым соединением, а четырехгранником.Возможно там провернуло от чрезмерного износа?Да и импеллер раззазорен силно полюбому.
|
|
| Вернуться к началу |
|
 |
|
Anatoliy11
|
|
| Не в сети |
| Контр-адмирал |
 |
Зарегистрирован: 30 июн 2016, 09:13 Сообщения: 2628
Имя: Анатолий
Техника: Мотороллер с фаркопом
Откуда: Харьков обл.
Благодарил (а): 30 раз Поблагодарили: 156 раз
|
Юрий Селиванов писал(а): На сколько помню гребной вал соединяется с промвалом не шлицевым соединением, а четырехгранником.Возможно там провернуло от чрезмерного износа?Да и импеллер раззазорен силно полюбому. 
| Вложения: |
Комментарий к файлу: GP...r

Screenshot_2019-10-31-22-13-01-1.png [ 502.75 КБ | 6232 просмотра ]
|
_________________ "Лучше пару раз по разу:- чем ни разу много раз")) настройка карбюраторов ссылка нижеhttp://www.pwctoday.com/showthread.php?t=62278
Последний раз редактировалось Anatoliy11 31 окт 2019, 23:20, всего редактировалось 1 раз.
|
|
| Вернуться к началу |
|
 |
|
Foxx021
|
|
| Не в сети |
| Старшина 2 статьи |
Зарегистрирован: 30 май 2019, 11:11 Сообщения: 111
Имя: Константин
Техника: Yamaha VX1100 SPORT
Благодарил (а): 18 раз Поблагодарили: 2 раза
|
Rulezzz36 писал(а): Дааааа, флуда куча, по делу 0! В общем вытащил вал вместе с импеллером, в рабочей зоне видно что грани немного слизаны и общий диаметр уменьшился. Возможно ответная часть тоже съедена, но пока не могу до неё добраться. По каталогу посмотрел, там вал идёт одной запчастью и на конце у него идёт резьба, а у меня шлицы как на полуоси. Мошт у меня самопал. Кто разбирал Ямахи, подскажите как там конструктивно всё устроено. вал идет одной деталью. заканчивается шлицами. есть еще маленький вал, вот он вкручивается в импеллер) (это так называемый подшипниковый узел) а импеллер в свою очередь, по шлицам, насаживается на основной вал.
|
|
| Вернуться к началу |
|
 |
|
Anatoliy11
|
|
| Не в сети |
| Контр-адмирал |
 |
Зарегистрирован: 30 июн 2016, 09:13 Сообщения: 2628
Имя: Анатолий
Техника: Мотороллер с фаркопом
Откуда: Харьков обл.
Благодарил (а): 30 раз Поблагодарили: 156 раз
|
Foxx021 писал(а): Rulezzz36 писал(а): Дааааа, флуда куча, по делу 0! В общем вытащил вал вместе с импеллером, в рабочей зоне видно что грани немного слизаны и общий диаметр уменьшился. Возможно ответная часть тоже съедена, но пока не могу до неё добраться. По каталогу посмотрел, там вал идёт одной запчастью и на конце у него идёт резьба, а у меня шлицы как на полуоси. Мошт у меня самопал. Кто разбирал Ямахи, подскажите как там конструктивно всё устроено. вал идет одной деталью. заканчивается шлицами. есть еще маленький вал, вот он вкручивается в импеллер) (это так называемый подшипниковый узел) а импеллер в свою очередь, по шлицам, насаживается на основной вал. Фото сделать слабо?
_________________ "Лучше пару раз по разу:- чем ни разу много раз")) настройка карбюраторов ссылка нижеhttp://www.pwctoday.com/showthread.php?t=62278
|
|
| Вернуться к началу |
|
 |
|
Foxx021
|
|
| Не в сети |
| Старшина 2 статьи |
Зарегистрирован: 30 май 2019, 11:11 Сообщения: 111
Имя: Константин
Техника: Yamaha VX1100 SPORT
Благодарил (а): 18 раз Поблагодарили: 2 раза
|
Anatoliy11 писал(а): Foxx021 писал(а): Rulezzz36 писал(а): Дааааа, флуда куча, по делу 0! В общем вытащил вал вместе с импеллером, в рабочей зоне видно что грани немного слизаны и общий диаметр уменьшился. Возможно ответная часть тоже съедена, но пока не могу до неё добраться. По каталогу посмотрел, там вал идёт одной запчастью и на конце у него идёт резьба, а у меня шлицы как на полуоси. Мошт у меня самопал. Кто разбирал Ямахи, подскажите как там конструктивно всё устроено. вал идет одной деталью. заканчивается шлицами. есть еще маленький вал, вот он вкручивается в импеллер) (это так называемый подшипниковый узел) а импеллер в свою очередь, по шлицам, насаживается на основной вал. Фото сделать слабо? не слабо! есть схема. там все видно!
| Вложения: |

1094fead6f43dd298773130652f99fe8.png [ 48.02 КБ | 6226 просмотров ]
|
|
|
| Вернуться к началу |
|
 |
|
Foxx021
|
|
| Не в сети |
| Старшина 2 статьи |
Зарегистрирован: 30 май 2019, 11:11 Сообщения: 111
Имя: Константин
Техника: Yamaha VX1100 SPORT
Благодарил (а): 18 раз Поблагодарили: 2 раза
|
последовательность по схеме рассказать?)) поправка, то по VX1100 
|
|
| Вернуться к началу |
|
 |
|
Anatoliy11
|
|
| Не в сети |
| Контр-адмирал |
 |
Зарегистрирован: 30 июн 2016, 09:13 Сообщения: 2628
Имя: Анатолий
Техника: Мотороллер с фаркопом
Откуда: Харьков обл.
Благодарил (а): 30 раз Поблагодарили: 156 раз
|
Foxx021 писал(а): Anatoliy11 писал(а): Foxx021 писал(а): вал идет одной деталью. заканчивается шлицами. есть еще маленький вал, вот он вкручивается в импеллер) (это так называемый подшипниковый узел) а импеллер в свою очередь, по шлицам, насаживается на основной вал. Фото сделать слабо? не слабо! есть схема. там все видно!   насмешил
_________________ "Лучше пару раз по разу:- чем ни разу много раз")) настройка карбюраторов ссылка нижеhttp://www.pwctoday.com/showthread.php?t=62278
|
|
| Вернуться к началу |
|
 |
|
Foxx021
|
|
| Не в сети |
| Старшина 2 статьи |
Зарегистрирован: 30 май 2019, 11:11 Сообщения: 111
Имя: Константин
Техника: Yamaha VX1100 SPORT
Благодарил (а): 18 раз Поблагодарили: 2 раза
|
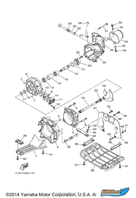
|
вот на gp800
| Вложения: |

9ffb022a5f1ae8550624632f1c08e601.png [ 63.84 КБ | 6229 просмотров ]
|
|
|
| Вернуться к началу |
|
 |
|
Foxx021
|
|
| Не в сети |
| Старшина 2 статьи |
Зарегистрирован: 30 май 2019, 11:11 Сообщения: 111
Имя: Константин
Техника: Yamaha VX1100 SPORT
Благодарил (а): 18 раз Поблагодарили: 2 раза
|
Anatoliy11 писал(а): Foxx021 писал(а): Anatoliy11 писал(а): Фото сделать слабо? не слабо! есть схема. там все видно!   насмешил Чем именно?  поясниттттте 
|
|
| Вернуться к началу |
|
 |
|
Anatoliy11
|
|
| Не в сети |
| Контр-адмирал |
 |
Зарегистрирован: 30 июн 2016, 09:13 Сообщения: 2628
Имя: Анатолий
Техника: Мотороллер с фаркопом
Откуда: Харьков обл.
Благодарил (а): 30 раз Поблагодарили: 156 раз
|
|
| Вернуться к началу |
|
 |
Кто сейчас на конференции |
Сейчас этот форум просматривают: нет зарегистрированных пользователей и 6 гостей |
|
|
Вы не можете начинать темы Вы не можете отвечать на сообщения Вы не можете редактировать свои сообщения Вы не можете удалять свои сообщения Вы не можете добавлять вложения
|
|